Como posso aceder ao filtro na minha máquina de lavar Zanussi?
Problema
- Como posso aceder ao filtro na minha máquina de lavar Zanussi?
Aplica-se a
- Zanussi máquina de lavar roupa com carregamento frontal (mercados europeus)
Solução
As máquinas de lavar roupa Zanussi mais recentes já não têm filtros na parte frontal da máquina
- Não há mais nenhum filtro que precise de limpeza nas máquinas de lavar roupa Zanussi.
- Este aparelho foi projetado com um sistema de drenagem auto-limpante, permitindo que as fibras de cotão leves que caem das roupas sejam drenadas com a água, de modo que não seja necessário aceder a esta área para manutenção e limpeza regulares.
- Isso se deve a uma junta de porta específica, projetada para capturar todos os objetos, como moedas, botões, grampos de cabelo, etc., antes que eles possam sair do tambor e encontrar o caminho para a área de drenagem.
- Examine regularmente a vedação e remova todos os objectos do interior. Moedas, botões e outros itens pequenos esquecidos nos bolsos das suas roupas são depositados durante o ciclo de lavagem na armadilha de lábio duplo especial na vedação do óculo, onde podem ser convenientemente recuperados no final do ciclo.
Se tem uma Máquina de Lavar Roupa Zanussi Embutida / Integrada
O filtro da bomba está localizado no canto inferior direito do aparelho, atrás do rodapé, que terá de ser baixado para aceder ao filtro.
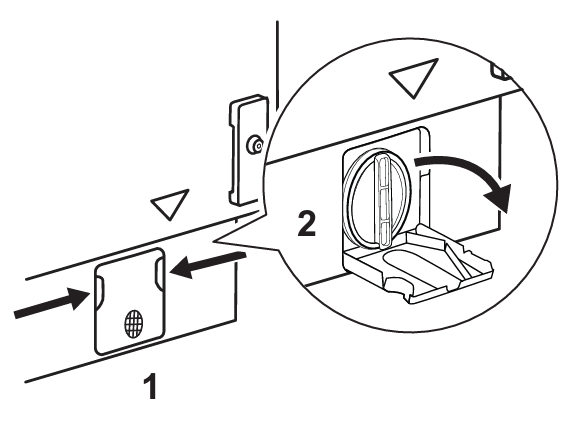
Abra a tampa da bomba
Coloque uma tigela adequada (uma bandeja de forno também é útil) no chão onde está o filtro (para apanhar a água) e tenha também um pano ou toalha por perto.
Abra a tampa do filtro
Rode o filtro 180 graus no sentido contrário ao dos ponteiros do relógio, mas não remova o filtro, deixe a água encher a taça, quando estiver cheia, feche o filtro e esvazie a taça. Depois repita conforme necessário até não haver mais água.
Remova o filtro e limpe qualquer cotão ou objetos e lave o filtro debaixo de uma torneira aberta.
Coloque o filtro de volta e rode no sentido dos ponteiros do relógio, certificando-se de que o filtro está bem encaixado e de forma correta (para evitar que a água escape). Feche a tampa do ralo.
Não utilize alicates, aperte o filtro apenas à mão!
Máquinas de Lavar e Secar de Instalação Livre Zanussi:
Se tem uma máquina de lavar e secar roupa independente da Zanussi, o procedimento é o mesmo que o acima descrito, exceto que o filtro não está atrás de um rodapé.
O filtro está localizado no canto inferior direito do aparelho.
Este artigo foi útil?
Artigos Relacionados
- A máquina de lavar roupa exibe a mensagem de erro EHO/EH0
- A máquina de lavar exibe a mensagem de erro E10, C1 ou emite 1 bip/pisca 1 vez
- A máquina de lavar não drena a água e exibe a mensagem de erro E20, E21 ou C2
- A porta de vidro da máquina de lavar apresenta arranhões por dentro ou está rachada
- Máquina de lavar roupa não funciona / não reage
- A máquina de lavar emite um odor desagradável
- O ícone "limpeza do tambor" aparece no visor da máquina de lavar roupa
- Máquina de lavar roupa exibe um cadeado
- Limpar o borracha da máquina de lavar, se estiver suja
- Electrodomésticos com conexão WiFi - O aplicativo não pode se conectar ao dispositivo